Triász-Tömlő Kft. - GINOP-3.2.2-8-2-4-16-2017-00580 Triász-Tömlő Kft. - GINOP-3.2.2-8-2-4-16-2017-00580
Fém kompenzátorok

Fém kompenzátorok – Magas hőmérsékletre és nyomásra tervezve

A fém kompenzátorok elengedhetetlen alkatrészei a csővezeték-rendszereknek, különösen ott, ahol extrém hőmérséklet, nagy nyomás vagy agresszív közeg lép fel. Ezek az eszközök megbízhatóan kompenzálják a hőtágulásból, szerkezeti mozgásból vagy vibrációból adódó elmozdulásokat, és hosszú távon is megóvják a rendszert a sérülésektől.

Legfontosabb jellemzők:

  • Anyag: rozsdamentes acél (AISI 304, 316L stb.), hőálló acélok

  • Mozgástípusok: axiális, laterális, anguláris elmozdulások kompenzálása

  • Nyomástartomány: akár 40 bar üzemi nyomás

  • Hőmérsékleti ellenállás: akár 600 °C-ig

  • Kialakítás: egy- vagy többhullámos szerkezet, belső vezetőcsővel vagy anélkül

  • Csatlakozások: hegesztett végek, karimás kivitel vagy menetes csatlakozás

Előnyök:

  • Hosszú élettartam szélsőséges körülmények között is

  • Kiváló mechanikai szilárdság

  • Korrózióálló és karbantartásmentes kivitel

  • Egyedi gyártás is lehetséges igény szerint


Axiálkompenzátor Nemesacél karimás kompenzátor
Tovább a termék adatlapjára

PN 16 bar EN 1092

DN Mozgás
kompenzáció (mm)
L0 (mm) Da (mm)  
50 +/- 11 141 89  
50 +/- 21 230 91  
65 +/- 14 148 108  
65 +/- 24 220 110  
80 +/- 11,5 148 122  
80 +/- 25 220 123  
100 +/- 15,5 155 150  
100 +/- 26,5 230 152  
125 +/- 10,5 142 172  
125 +/- 21 184 172  
125 +/- 29,5 244 174  
150 +/- 12 147 203  
150 +/- 24 192 203  
150 +/- 33 246 205  
200 +/- 15 158 260  
200 +/- 30 212 260  
200 +/- 48,5 374 262  
250 +/- 16 189 318  
250 +/- 28 246 318  
250 +/- 51,5 373 320  

PN 25 bar EN 1092

DN Mozgás
kompenzáció (mm)
L0 (mm) Da (mm)  
50 +/- 6,5 128 90  
50 +/- 14,5 187 91  
65 +/- 8,5 134 109  
65 +/- 20 222 111  
80 +/- 11,5 152 123  
80 +/- 21 222 125  
100 +/- 11,5 144 151  
100 +-/ 24 218 152  
125 +/- 13 168 174  
125 +/- 26 232 174  
150 +/- 14,5 166 205  
150 +/- 29 230 205  
200 +/- 13 181 261  
200 +/- 23 235 261  
200 +/- 35,5 307 262  
250 +/- 12 185 320  
250 +/- 24 245 320  
250 +/- 39,5 325 320  
Axiálkompenzátor FÉM KOMPENZÁTOR KARIMÁVAL
Tovább a termék adatlapjára

Több méretben is raktárról szállítható. A raktárkészlet időközbeni eladásának jogát fenntartjuk.

DN Beépítési
hossz (mm)
Belső
ø (mm)
Hullámok
száma
Tengelyirányú
mozgás (mm)
Cikkszám Ajánlatkérés
a teljes méretskálára
25 105 38 17 +/-11 756117 Ajánlatkérés
32 105 42,2 17 +/-10 756112 Ajánlatkérés
40 120 48,3 17 +/-13 756111 Ajánlatkérés
50 150 60,3 20 +/-20 756123 Ajánlatkérés
65 140 76,1 16 +/-20 756122 Ajánlatkérés
80 155 88,9 15 +/-25 756120 Ajánlatkérés
100 220 114,3 20 +/-32 756126 Ajánlatkérés
125 190 139,7 16 +/-33 756118 Ajánlatkérés
150 270 168,3 20 +/-40 756125 Ajánlatkérés
200 275 219,1 16 +/-33 756124 Ajánlatkérés
250 285 273 14 +/-40 756121 Ajánlatkérés
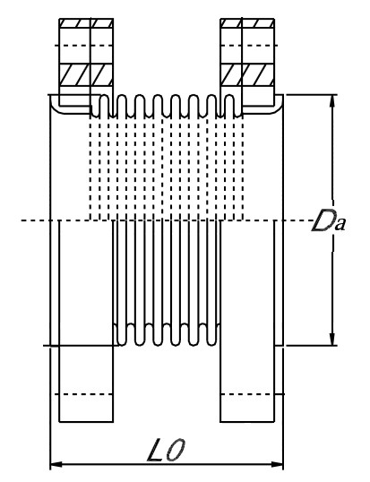
Axiálkompenzátor FÉM KOMPENZÁTOR HEGTOLDATTAL
Tovább a termék adatlapjára

Több méretben is raktárról szállítható. A raktárkészlet időközbeni eladásának jogát fenntartjuk.

DN Beépítési
hossz (mm)
Hegtoldat
külső ø (mm)
Hullámok
száma
Tengelyirányú
mozgás (mm)
Cikkszám Ajánlatkérés
a teljes méretskálára
25 185 38 17 11 755115 Ajánlatkérés
32 185 42,4 17 10 755112 Ajánlatkérés
40 200 48,3 17 13 755113 Ajánlatkérés
50 270 60,3 20 20 755116 Ajánlatkérés
65 260 76,1 16 20 755117 Ajánlatkérés
80 275 88,9 15 25 755118 Ajánlatkérés
100 310 114,3 20 32 755126 Ajánlatkérés
125 310 139,7 16 33 755119 Ajánlatkérés
150 350 168,3 20 40 755124 Ajánlatkérés
200 330 219,1 16 33 755121 Ajánlatkérés
250 360 273 14 40 755120 Ajánlatkérés
Axiálkompenzátor Nemesacél hegtoldatos kompenzátor
Tovább a termék adatlapjára

PN 16 bar

DN Mozgás
kompenzáció (mm)
L0 (mm) Da (mm)  
50 +/- 11 214 89  
50 +/- 21 303 91  
65 +/- 14 220 108  
65 +/- 24 292 110  
80 +/- 11, 220 122  
80 +/- 25 292 123  
100 +/- 15,5 225 150  
100 +/- 29 314 152  
125 +/- 10,5 218 172  
125 +/- 21 260 172  
125 +/- 32,5 336 174  
150 +/- 12 221 203  
150 +/- 24 266 203  
150 +/- 36,5 336 205  
200 +/- 15 234 260  
200 +/- 30 288 260  
200 +/- 48,5 450 262  
250 +/- 16 256 318  
250 +/- 28 332 318  
250 +/- 51,5 440 320  

PN 25 bar

DN Mozgás
kompenzáció (mm)
L0 (mm) Da (mm)  
50 +/- 8,5 210 90  
50 +/- 16 270 91  
65 +/- 10,5 215 109  
65 +/- 20 292 111  
80 +/- 11,5 220 123  
80 +/- 21 290 125  
100 +/- 11,5 212 151  
100 +-/ 24 286 152  
125 +/- 13 240 174  
125 +/- 26 304 174  
150 +/- 14,5 240 205  
150 +/- 29 304 205  
200 +/- 13 252 261  
200 +/- 23 324 261  
200 +/- 35,5 378 262  
250 +/- 12 240 320  
250 +/- 24 300 320  
250 +/- 39,5 380 320  

A fém kompenzátorokat leggyakrabban ipari gőzvezetékekben, hőcserélőkben, energetikai rendszerekben, valamint vegyipari és petrolkémiai alkalmazásokban használják. A fémkompenzátorok többféle kialakításban és paraméterrel elérhetők, így fontos a pontos műszaki adatok egyeztetése. Webáruházunkban csak megbízható, iparban elismert gyártók termékeit kínáljuk.